2019-05-22 18:24:45 網站投稿 T大
5月21日原糖走勢V 型逆轉,已經暗示原糖市場有所端倪。隨后各大媒體爆出重磅新聞成為今天白糖暴全線跌停的導火索。筆者梳理各大網站關于重磅新聞來源的內容,大概如下:
彭博新聞:

巴西官方發聲(部分摘要):
SAO PAULO, May 21 (Reuters) - Brazil will no longer seek a panel at the World Trade Organization (WTO) to investigate China"s sugar trade policies, the Brazilian government said on Tuesday, smoothing commercial relations with its top trade partner."Brazil and China have reached an understanding regarding the consultations made at the WTO on sugar," the Brazilian 。
主要大意是,巴西政府周二表示,巴西將不再尋求世界貿易組織(WTO)小組調查中國的糖貿易政策,以平衡與其最大貿易伙伴的商業關系。“巴西和中國已就世界貿易組織就糖問題進行的磋商達成了諒解,
從巴西官方新聞和彭博新聞內容看,兩者略有細微偏差,彭博新聞直接指出2020年5月到期中國會取消對巴西配額外進口關稅。但是從巴西官方發聲看,表達相對含蓄,達成了諒解,到期關稅是否恢復到50%不得而知。
回顧商務部公告2017年第26號 關于對進口食糖采取保障措施的公告內容其中提到:保障措施采取對關稅配額外進口食糖征收保障措施關稅的方式,實施期限為3年,自2017年5月22日至2020年5月21日,實施期間措施逐步放寬。2017年5月22日至2018年5月21日,保障措施關稅稅率為45%;2018年5月22日至2019年5月21日,保障措施關稅稅率為40%;2019年5月22日至2020年5月21日,保障措施關稅稅率為35%。
商務部公告中已經明確提出,實施期限是3年。按照公告內容到期恢復關稅似乎是意料之中。行情之所以反應如此強烈,筆者從路邊社了解到,由于內外價差始終偏大,市場有部分聲音提出即使貿易救濟到期,希望繼續延續適當的貿易救濟保護。今天爆出巴西和中國貿易磋商達成一致的新聞,嚴重摧毀市場信心。SR2005合約跌停回應,隨后SR2001跌停,SR1909受到進口關稅影響較小,但是也受到遠期合約利空影響,逼近跌停。
那么,到底關稅下調到50% 和85% 配額外進口成本差距有多大?筆者簡單測算進口成本,(后期配額外進口成本會隨著升貼水、匯率有所調整)。筆者按照11—16美分測算了巴西、泰國50%、85%的成本。12美分50%巴西進口成本大概在4211元/噸左右,16美分成本在5350左右,12美分85%巴西進口成本大概在5111元/噸左右,16美分成本在6517元/噸左右,泰國成本相對略低些。
長期看,由于外盤再次跌破10美分可能性不大,今日SR2005、SR2001盤面價格逼近50%左右進口成本,預計一定程度上消化了未來關稅的利空。

圖一:巴西、泰國85% 和50% 關稅成本測算
從資金動向上看,白糖第一大多頭主力止損的同時大量多頭也買入,凈多持倉增倉2萬多手,空頭主力中糧期貨席位順勢獲利減倉1萬余手,盡管有部分空頭繼續加倉做空但基本上是游資為主,總的凈空持倉增倉2千手。多空資金在鄭糖全面跌破5000大關之后,分歧加大。
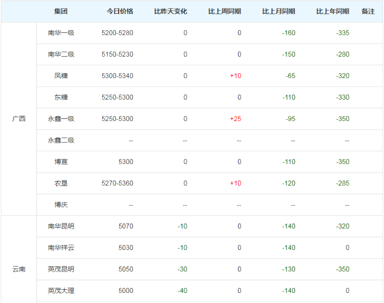
值得注意的是,產區現貨報價持穩為主,銷區下調報價幅度較小,現貨市場對于巴西關稅事件的反應相對謹慎和冷靜。

圖二:產區集團現貨報價

圖二:鄭糖持倉分析
在糖會召開之際,政策的風向對價格影響較大,抄底或者追空均謹慎,等待糖會結束之后政策相對清晰在做操作,目前觀望為主。由于SR2005 、SR2001合約跌停今晚會提保證金,關注是否有資金砍倉的大波動行情。長期看,鄭糖遠月新低之后消化了進口利空,投資價值洼地逐漸逼近,激進者可相對輕倉買1月合約。